配送设置操作流程
1、 排线
排线界面—开始排线
编辑排线区域—输入对应的区域—确定
编辑路线信息—输入司机—线路编号—物流区域—分拣—打包
确定路线
2、 改单
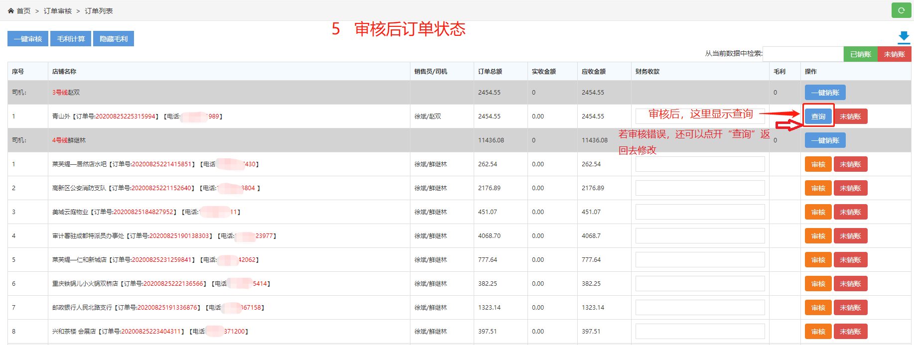
3、 审核
4、 打印
5、 固定排线
6、 移动司机端操作